Доступно

[Чертежи] Ленточная шлифовальная машина из фанеры своими руками. Двигатель стиральной машины [JSK-koubou]

Тема в разделе "Строительство и ремонт", создана пользователем Nik7, 19 сен 2023.

Цена: 670р-71%
Взнос: 190р
100%

Основной список: 14 участников

Статус обсуждения:
Комментирование ограничено.
  1. 19 сен 2023
    #1
    Nik7
    Nik7 ОргОрганизатор

    Складчина: [Чертежи] Ленточная шлифовальная машина из фанеры своими руками. Двигатель стиральной машины [JSK-koubou]

    Чертежи для самостоятельного изготовления станка два в одном дискового и ленточного шлифовального от педантичного мастера столярного дела с полутора миллионным Ютуб каналом.
    Мастер jsk-koubou на своём канале наглядно показывает как изготовить рабочий вариант дисково-ленточного шлифовального станка.
    шлифовка.PNG
    При изготовлении используется фанера, клей ПВА, метизы, саморезы. В конструкции станка применялись преимущественно прямые формы для простоты повторения. Для моделирования понадобятся простые столярные инструменты: шуруповёрт, ножёвка, немного фрезер.
    Ранее предложенные планы других станков хорошо себя зарекомендовали, были повторены многими людьми.
    Это комплект чертежей для самостоятельной сборки станка из фанеры
    Автор: JSK-koubou.
    Стоимость:
    ¥800 (Japan).
    800 йен = 641 Российских рублей.
    Комиссия системы 5%.
    Итого: 641+5% = ~670 Российских рублей
    Видео:
    1 часть-
    2 часть-
    Продажник:
    Скрытая ссылка
     
    1 человеку нравится это.
  2. Последние события

    1. skladchik.com
      Складчина доступна.
      3 окт 2023
    2. skladchik.com
      Взнос в складчине составляет 95р.
      3 окт 2023
    3. skladchik.com
      Складчина активна.
      3 окт 2023
    4. FvFrenk
      FvFrenk участвует в складчине.
      2 окт 2023

    Последние важные события

    1. skladchik.com
      Складчина доступна.
      3 окт 2023
    2. skladchik.com
      Взнос в складчине составляет 95р.
      3 окт 2023
    3. skladchik.com
      Складчина активна.
      3 окт 2023
    4. skladchik.com
      Сбор взносов начинается 03.10.2023.
      30 сен 2023
  3. Обсуждение
  4. 1 окт 2023
    #2
    Petr152
    Petr152 ЧКЧлен клуба
    Курс на английском?
     
  5. 1 окт 2023
    #3
    vi7562213
    vi7562213 СкладчикСкладчик
    Чертежи
     
    1 человеку нравится это.
  6. 2 окт 2023
    #4
    Nik7
    Nik7 ОргОрганизатор
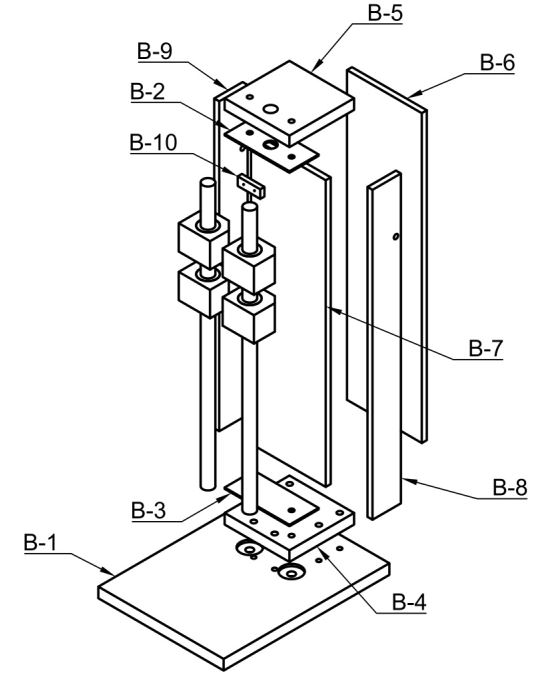
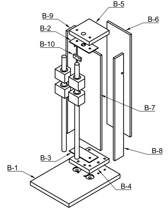
    Почитайте продажник. Вы приобретаете чертежи в формате PDF, позволяющие изготовиить из подручных материалов, шлифовальную машину, которая может выполнять функцию гриндера. В качестве привода автор использует двигетель от стиральной машины. Я приобретал курсы (будет сборочный чертёж и деталировка) это выглядит так: сверлилка.JPG
     
    1 человеку нравится это.
  7. 2 окт 2023
    #5
    Petr152
    Petr152 ЧКЧлен клуба
    Благодарю
     
Статус обсуждения:
Комментирование ограничено.